华谊兄弟电影公司1亿股权遭冻结
北京青年报客户端
2026-04-14 14:09
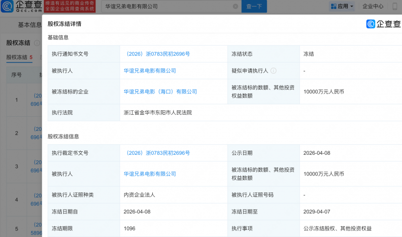
企查查APP显示,近日,华谊兄弟电影有限公司新增一则股权冻结信息,股权所在企业为华谊兄弟电影(海口)有限公司,冻结股权数额1亿人民币。华谊兄弟电影(海口)有限公司成立于2021年1月,法定代表人为王忠磊(王中磊),由华谊兄弟电影有限公司全资持股。
文/北京青年报记者 乔颖
编辑/周超
相关阅读
华谊兄弟拟定增募资不超8亿元,用于影视剧项目、补充流动资金
澎湃新闻 2024-12-14
贾跃亭所持14亿股权再被冻结
北京青年报客户端 2023-04-10
二股东腾讯减持华谊兄弟 持股比例降至5%以下
每日经济新闻 2022-08-06
司法冻结900万股!影视大佬遭追债,四年巨亏64亿,警示函接连下发
中国基金报 2022-07-10
华谊兄弟电影世界关联公司新增被执行人 标的137万元
中国经济网 2022-05-19
华谊兄弟电影乐园今日起暂停游客接待
上游新闻 2022-03-14
王忠磊已套现过亿,华谊兄弟卖资产扭亏,监管追问金融资产处置细节
界面新闻 2022-02-15
华谊兄弟在西安成立新公司,经营范围含经纪服务电影制片等
凤凰网娱乐 2021-12-14
最新评论


