现在汽车的制动系统正在经历一场大变革,从液压制动迈向更先进的全线控制动系统。这场变革中,京西智行的一项独家创新技术——球盘式电子机械制动系统(EMB),即将改变我们的出行安全。
以前汽车的制动系统靠液压油传递力量,就像根管子连接制动踏板和车轮,踩下去后液压油推动刹车片夹紧车轮。但这种设计反应较慢、控制不够精准,还容易漏油。特别是现在电动汽车越来越多,需要更快速、更智能的制动系统来匹配自动驾驶等高科技功能。
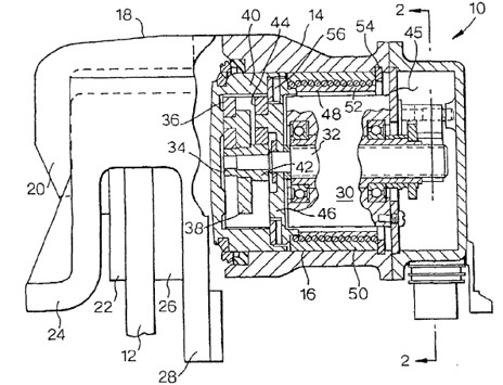
京西智行独家球盘式EMB第三代单电机方案
凭借40余年的卡钳制动系统经验、30余年的线控制动系统经验,京西智行完全抛弃液压油管、改用电子信号直接控制车轮制动,叠加算法积累,研发了非线性球盘式EMB,已拥有EMB核心专利数十项。京西智行已将非线性球盘EMB做成了“全能选手”——整合ABS、ESC、TCS、ACC等全部制动系统功能,灵活适配不同车型的需求,实现更快的响应速度,更小的传动比,更低转速的电机,更好的NVH表现,又能支持L3级以上的自动驾驶。
京西智行非线性球盘式EMB已拥有EMB核心专利数十项
小体积更经济:球盘结构简单,不需要复杂结构,量产成本更低,未来维护和使用成本将逐步降低。
省电又冷静:长时间制动时保持夹紧力所需的电流需求极低,也不容易过热。对电动车来说,这意味着能耗更低、更长行驶里程。
快得像闪电:从踩刹车到夹紧车轮停止转动,只需要75至100毫秒。紧急情况下能多争取宝贵的安全时间,让您在遇到突发状况时更有底气。
稳定驻车更聪明:四个车轮都能独立“锁住”停车,不需要额外硬件装置,还能根据坡道、载重等情况调整制动力度。比如坡道停车更稳当,再也不用担心溜车问题。
自动“调零”更安全:刹车片磨损后,系统能快速调整间隙(仅需8%转动行程),保证制动系统始终灵敏可靠。就像给制动系统装了个“自动校准器”,避免“踩空”或“过紧”的问题,日常开车更安心。
京西智行球盘式EMB系统规划于2026年年底在国内率先投入量产
上面这“五大超能力”将为车企和用户带来实实在在的“四大好处”:装车时“即插即用”的电子接口,不用再灌刹车油、排空气,省时省力;没有液压管,底盘更紧凑,设计师能腾出空间装更大的电池或更舒适的座椅;刹车片不“粘”车轮,减少摩擦损耗,间接降低电耗;控制软件还能和转向、悬挂系统“对话”,在自动刹车时调整车身姿态,让车更稳,未来升级也更灵活。
京西智行的球盘式EMB就像给汽车制动系统装上了“最强大脑”,让刹车更快、更准、更聪明。该系统规划于2026年年底在国内率先投入量产。随着电动车和自动驾驶越来越普及,这种技术可能会成为未来汽车的“标配”,让我们的出行更安全、更高效、更环保。
编辑/李东颖




