为了这件事,铁凝率队赴西部调研3天
北京青年报政知道 2023-09-23 21:41

据《青海日报》报道,9月19日至21日,全国人大常委会副委员长铁凝带领调研组赴青海调研。

据报道,此次调研的主题是“学位立法和学前教育立法及相关工作”。

首次亮相

中央对教育一直高度关注。

5月29日,中共中央政治局就“建设教育强国”进行了第五次集体学习。

中共中央总书记习近平提到,“建设教育强国,龙头是高等教育”“要推进学前教育普及普惠安全优质发展”。

8月28日,在十四届全国人大常委会第五次会议上,学位法草案、学前教育法草案首次对外亮相。

据《新闻联播》报道,在当日的会议上,国务院提出了关于提请审议学前教育法草案的议案。受国务院委托,教育部部长怀进鹏作了说明。

国务院提出了关于提请审议学位法草案的议案。受国务院委托,司法部部长贺荣作了说明。

需要说明的是,无论是学前教育法,还是学位法,都备受外界关注。

学前教育仍是我国国民教育体系的薄弱环节,发展不平衡不充分的矛盾还比较突出,“入园难”和“入园贵”的问题仍然存在。

另外,近几年来,学术不端、学位论文造假、抄袭事件等也不时被曝光,玷污了学术的纯洁性。

一个月前“首揭面纱”的学位法草案、学前教育法草案,对一些社会关注的焦点予以回应。

目前正在征求意见的学前教育法草案提到,幼儿园“不得教授小学阶段的课程内容、采用小学化的教育方式”;“以学前儿童为主要对象的图书、玩具等,不得违背儿童身心发展规律或者与年龄特点不符”。

学位法草案提到,已经获得学位者,在获得该学位过程中特定情形的,经学位评定委员会审议决定,由学位授予单位撤销学位证书。

这几种情形包括:

学位论文或者实践成果存在抄袭、剽窃、伪造、数据造假、人工智能代写等学术不端行为的;盗用、冒用他人身份,顶替他人取得的入学资格,或者以徇私舞弊等非法手段取得入学资格、毕业证书等。

聚焦热点

政知君注意到,此前,十四届全国人大常委会第五次会议对学位法草案、学前教育法草案进行了分组审议。

不少人都提出了针对性的建议。

有不少参会者都关注了如何提高“导师能力素质”的问题。

谭琳委员说,“具有良好的道德品德应当是确认导师资格的重要标准,如果一个导师自身没有良好的道德品行,也很难做到为人师表,立德树人。”

谭琳建议在草案中增加“良好的道德品行”表述,将其改成“学位授予单位应当为接受研究生教育的学生配备具有良好的道德品行、较高的学术水平或较强的实践能力的教师”。

谭琳还提到,如果导师出现道德品行败坏、学术品行不端等行为,应当取消指导教师资格。

另外,还有不少委员对学前教育法草案提出建议。

侯建国委员说,“现在幼儿园入学申请有时候比考试和测试还厉害,造成了父母的焦虑,为了让孩子在这个方面有竞争力,就不得不花很多的钱去上各种教培的辅导班。”

他建议,“增加相关禁止性规定,除了不得组织任何形式考试或测试以外,也不得设置有违教育公平的入学条件,以符合学前教育的普遍性公平原则”。

铁凝率队赴青海:做好征求意见工作

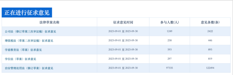
目前,学位法草案、学前教育法草案正在面向社会征求意见,征求意见的时间是2023年9月1日至2023年9月30日。

9月19日至21日,全国人大常委会副委员长铁凝率调研组赴青海。

调研期间,铁凝一行先后到西宁市、贵德县部分高校、幼儿园和有关地区实地调研。

另外,铁凝率领的调研组还召开了多场座谈会:

9月20日上午,调研组在西宁市召开学位立法调研座谈会,和青海省高校、科研院所负责人、导师、学生代表座谈。

9月21日上午,调研组在海南藏族自治州贵德县召开学前教育立法调研座谈会,和贵德县部分幼儿园负责人、教师、家长代表座谈。

调研组还专门召开人大代表座谈会,和该省部分全国人大代表、省人大代表座谈。

铁凝强调,“高等教育作为建设教育强国的龙头,承担着培养高层次人才和科研创新的使命任务,在党和国家事业全局中具有重要地位。”

她说,把握正确方向、坚持问题导向、树立系统观念,全面落实常委会立法工作计划,扎实做好学位法(草案)征求意见工作,加快补齐教育法治建设短板。

调研组还提到,坚持立德树人、坚持公益普惠、坚持教育公平,用心、用情、用力做好学前教育立法工作,推进学前教育普及普惠安全优质发展。

资料|新华社 中国人大网 澎湃新闻 人民网等

【版权声明】本文著作权归政知新媒体独家所有,未经授权,不得转载。

文/北京青年报记者 孟亚旭
编辑/马晓晴

相关阅读
国务委员南下赴经济大省,要求加紧做好这件事!
北京青年报政知见 2025-03-21
2024年以来,十四届全国人大及其常委会已制定法律5件,修改法律14件
北京青年报客户端 2024-12-19
省委书记赴大学“讲课”,抛出三问
北京青年报政知见 2024-11-26
我国拟立法强化对幼儿园周边治安监管
中国新闻网 2024-11-01
学前教育法草案将三审:保障学前儿童的名誉、隐私和其他合法权益
北京青年报客户端 2024-11-01
学前教育法草案将三审:强化对幼儿园食品安全和周边治安的监管
北京青年报客户端 2024-11-01
新任市委书记,连续3天调度指挥,赴一线察看汛情
北京青年报客户端 2024-07-18
学前教育法草案二审稿突出学前儿童权益保障
新华社 2024-06-26
最新评论