李子柒前MCN公司微念完成股改 ,其申请“李子柒”商标均已无效
北京青年报客户端
2026-04-13 22:02
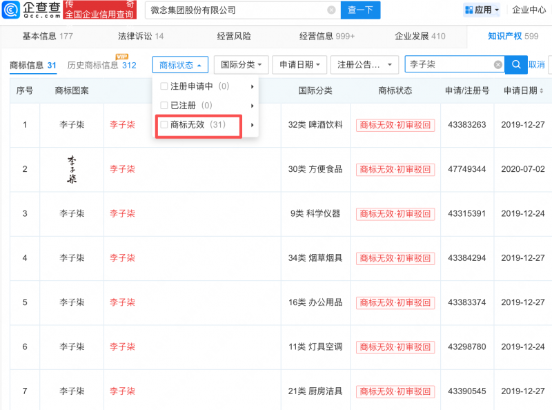
企查查APP最新显示,杭州微念品牌管理有限公司更名为微念集团股份有限公司,同时企业类型由有限责任公司(港澳台投资、非独资)变更为股份有限公司(港澳台投资、未上市)。信息显示,该公司成立于2013年2月,为李子柒前MCN公司,值得一提的是,该公司申请“李子柒”商标均已无效。
作为知名文化类视频创作者,李子柒的近况广受关注。记者从国家电影局官网获悉,由李子柒担任编剧的纪录片《温室》已正式通过备案,备案单位为四川秭柒东来文化传播有限公司。信息显示,此次纪录片《温室》将聚焦李子柒为患有慢性肺心病的奶奶建造一座恒温恒湿的温室,希望借此让奶奶在冬日免受风寒。影片还将呈现她在这一过程中逐渐疗愈原生家庭所带来的内心创伤。
文/北京青年报记者 乔颖
编辑/李涛
相关阅读
李子柒编剧电影备案,讲述为患病奶奶建造温室的故事
北京青年报客户端 2026-04-01
停更三年做了什么?会有被遗忘的焦虑感吗? 李子柒给出了答案
北京青年报客户端 2024-11-13
李子柒复出三连更,全平台播放量破5亿
北京青年报客户端 2024-11-13
停更三年,李子柒在干什么?
北京青年报客户端 2024-11-13
时隔三年后回归,李子柒更新视频
北京青年报客户端 2024-11-12
半两财经 | 停更3年 李子柒更新视频回归
北京青年报客户端 2024-11-12
李子柒官司风波后视频露面:会继续坚持,用自己的方式带来更多优质内容
每日经济新闻 2023-09-16
李子柒公司再次发生工商变更 微念退出股东行列
北京青年报客户端 2023-02-01
最新评论




