8月5日,在东京奥运会跳水女子单人10米台决赛中,中国跳水队14岁的运动员全红婵夺得金牌。8月17日,北青-北京头条记者搜索中国商标网发现,自8月5日起,就有商家及个人抢注“全红婵”商标,目前共计有18个“全红婵”商标均正在注册申请中,类别涉及日化用品、医药、办公用品、服装鞋帽、布料床单、食品、啤酒饮料、酒、教育娱乐、餐饮住宿等。同时,还有近百个“红婵”“金红婵”相关商标正在注册申请中。对此,律师表示,全红婵在东京奥运夺冠后为公众所熟知,成为公众人物,其姓名与自身商业价值紧密关联,社会公众极容易将商品和该公众人物联系起来。如企业或个人未获得其授权,用其姓名注册申请商标,可能侵犯其姓名权。在商标申请阶段,全红婵可以侵权为由要求撤销申请。
跳水运动员全红婵奥运夺冠后遭抢注商标 已有18个“全红婵”商标在注册申请
8月5日,在东京奥运会跳水女子单人10米台决赛中,中国跳水队14岁的运动员全红婵夺得金牌。5跳3跳满分,奥运跳水比赛历史最高分466.20,全红婵一战成名,成了“国民妹妹”。除了比赛成绩瞩目,其个人成长经历、个人喜好及在采访中的个性化语录也备受关注,比如她喜欢吃辣条,她想赚钱为母亲治病,她把“性格”听成了“杏哥”问“杏哥是谁”等。
近日,有网友发现,不少公司、个人恶意抢注名称为“全红婵”的商标,类别涉及日化用品、医药、办公用品、服装鞋帽、食品、啤酒饮料、教育娱乐、餐饮住宿等。
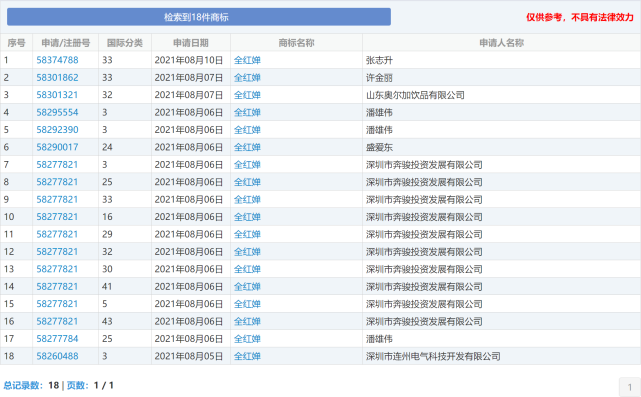
北青-北京头条记者查询中国商标网发现,8月5日,深圳市连州电气科技开发有限公司就申请了名为“全红婵”的商标,类别属于日化用品,目前仍在注册申请中。随后,又有其他个人及公司申请注册“全红婵”商标,类别涉及日化用品、医药、办公用品、服装鞋帽、布料床单、食品、啤酒饮料、酒、教育娱乐、餐饮住宿等,其中,仅深圳市奔骏投资发展有限公司就注册了10个不同分类的“全红婵”商标,潘世伟申请了3个不同分类的“全红婵”商标。
一公司正注册申请“全红婵”“红婵HCH”“金红婵”商标共39个
此外,北青-北京头条记者注意到,在中国商标网搜索“红婵”发现,相关商标有78个,包括“红婵”“红婵妹妹”“红婵HCH”“红婵馋”“红婵皇后QUEEN HONG CHAN”等,其中,72个是在今年8月5日之后注册申请的,目前正等待受理。注册6个不同分类“红婵HCH”商标的也是深圳市奔骏投资发展有限公司。
北青-北京头条记者在中国商标网搜索“金红婵”发现,相关商标有29个,均是8月6日及之后注册申请的,目前正等待受理。其中23个不同分类的“金红婵”商标申请人都是深圳市奔骏投资发展有限公司,至此,该公司已注册“全红婵”“金红婵”“红婵HCH”不同分类的商标共计39个。
8月17日,北青-北京头条记者致电深圳市连州电气科技开发有限公司询问该公司申请注册“全红婵”商标是否与全红婵家属沟通并获得授权,工作人员称“正在忙”,未作出回应便挂了电话。同时,北青-北京头条记者多次致电注册申请“全红婵”商标的深圳市奔骏投资发展有限公司、山东奥尔加饮品有限公司,两家公司电话一直在通话中,短信也未回复。
律师:未获授权申请注册公众人物姓名为商标或侵犯姓名权 当事人可要求撤销申请
对于全红婵被抢注商标的背后涉及的法律问题,北京京都律师事务所常莎律师称,全红婵是中国国家队跳水运动员,在2020年东京奥运会上获得跳水女子单人10米跳台冠军,因近乎完美的跳水表现而走红,其姓名被全国公众所熟知。对于社会公众所熟知的人物姓名,其姓名与自身商业价值紧密关联,社会公众极容易将商品和该公众人物联系起来。如其本人或经其授权后的授权人以其姓名申请商标,不构成侵权;如未取得授权而申请注册的,则构成侵权。如商标注册人未取得全红婵授权而进行抢注,并且有胁迫该姓名权权利人进行“合作”,或索要高额商标转让费、许可使用费等行为的,则属于恶意抢注行为。
常莎认为,如果企业或个人未获得全红婵授权而申请注册“全红婵”商标,则侵犯了全红婵的姓名权。《商标法》没有明确禁止将他人或名人姓名申请注册为商标,但根据《最高人民法院关于审理商标授权确权行政案件若干问题的规定》第二十条,相关公众认为该商标标志指代了该自然人,容易认为标记有该商标的商品系经过该自然人许可或者与该自然人存在特定联系的,人民法院应当认定该商标损害了该自然人的姓名权。根据《民法典》第一百七十九条、第九百九十条及第九百九十五条规定,侵犯他人姓名权的,应承担停止侵害、排除妨碍、消除影响、恢复名誉、赔礼道歉等责任,造成损失的,还应赔偿损失。
目前,8月5日之后申请注册的“全红婵”商标均在等待受理阶段,这些商标能否申请成功呢?常莎认为,这些“全红婵”商标可能因侵犯特定主体姓名权而被驳回申请。
对于全红婵本人的维权建议,常莎表示,在“全红婵”商标申请阶段,全红婵也可以以侵权为由要求“全红婵”商标申请人撤销申请;如“全红婵”商标进入公告阶段,全红婵可以在公告期内向国家知识产权局商标局提出异议;如“全红婵”商标已注册成功,全红婵本人可以向商标评审委员会提出宣布该商标无效的请求,也可以提起诉讼,要求商标注册人注销该商标,停止侵害,排除妨碍,消除影响。
【版权声明】本作品的著作权等知识产权归【北青Qnews】所有,深圳市腾讯计算机系统有限公司享有本文的信息网络传播权,任何第三方未经授权,不得转载。
文/北京青年报记者 戴幼卿
编辑/王朝
校对/董一凡


