近日,中华联合财产保险股份有限公司(以下简称“中华财险”)在其官网发布信息披露显示,因信用保证保险纠纷案件,中华财险于2024年9月29日收到浙江省杭州市中级人民法院下达的民事判决书(2024浙01民终 4785号),根据判决,中华财险辽宁分公司需支付保险理赔款、违约金及其他相关费用,合计支付金额预计超过人民币5000万元。
图源:中华财险官网
对此判决结果,中华财险表示,公司将按判决履行赔付义务,不断强化内控建设,切实提升依法合规经营水平。
多家险企踩雷信保业务
近年来,随着经济社会日益发达,围绕借贷需求的金融服务呈现出多样化的趋势。相较于直接通过银行贷款的传统方式,采用保证保险进行融资的借款人往往能享受到相对更低的贷款利率。作为一种创新的金融保障手段,保证保险由保险公司(保险人)为借款人(投保人)向贷款机构(被保险人,通常为银行)提供信用担保。如果借款人未能按照合同履行还款义务,保险公司将依据其承诺,代为向贷款机构承担经济补偿责任。
图源:企查查
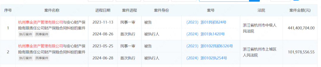
北青金融记者查询相关案件时发现,此次纠纷与杭州惠金资产管理有限公司有关,其诉讼标的金额为0.94亿元。
据查,中华财险与杭州惠金资产管理有限公司的诉讼可追溯至2019年,因信保业务产生争议,中华财险辽宁分公司与杭州惠金资产管理有限公司展开法律纠纷。2020年,中华财险辽宁分公司因不服杭州市上城区人民法院的民事裁定,向杭州市中级人民法院提起上诉,但被驳回,维持原裁定。值得注意的是,记者在查询中发现,杭州惠金资产管理有限公司还与安心财险及长安保险涉及多起保证保险纠纷。2024年1月,长安责任险在与杭州惠金资产管理有限公司的纠纷中被浙江省杭州市中级人民法院强制执行理赔,赔付金额达2.3亿元。2024年6月,安心财险在与杭州惠金资产管理有限公司的纠纷中被强制执行高达1.02亿元的赔付,同年8月,安心财险在与杭州惠金资产管理有限公司的纠纷中被强制执行高达4.41亿元的赔付,董事长韩刚因此被限制高消费。
图源:企查查
净利润下滑 遭评级下调
中华财险始创于1986年7月15日,前身为新疆生产建设兵团农牧业生产保险公司,具有独立法人资格。2002年,经国务院批复同意,公司更名为中华联合财产保险公司,成为全国唯一一家以“中华”冠名的国有控股保险公司。从经营情况上看, 尽管在保险业务版图上持续扩张,中华财险亦面临着净利润下滑、赔付成本上升、合规风险增加等挑战。据2024年第二季度偿付能力报告显示,中华财险延续了“增收不增利”的尴尬局面。上半年,保险业务收入达410.16亿元,同比增长3.93%,而净利润则缩水至4.95亿元,同比下跌15.75%。
图源:中华财险2024年第2季度偿付能力报告
在赔付方面,对比2022年,2023年的综合成本率与综合赔付率分别攀升0.8个百分点和1.35个百分点,达到100.28%和74.27%,赔付支出高达477.07亿元。至2024年上半年,尽管综合成本率略有回调至99.45%,但综合赔付率仍高达77.45%。在风险合规领域,中华财险亦频遭监管重锤,涉及虚列费用、业务数据不真实、编制虚假报告等多项违规行为,导致公司声誉和财务状况受损。2024年,公司已累计收到多笔显著罚款,包括常州中心支公司、洛阳中心支公司和一四一团支公司的大额罚单。或基于上述因素,国际评级机构惠誉于2024年8月1日将中华财险的评级从“A-”下调至“BBB+”。惠誉指出,下调评级的主要原因是公司实际控制人东方资产信用状况的相对恶化,导致中华财险的评级不再因东方资产的所有权而获得上调。
文/马佳丽
编辑/范辉

